60-GHz Eval Board and Baseband Modem IC Forge Viable Fiber Alternative
Pharrowtech’s PTB-1060 evaluation board includes its PTR-1060 CMOS radio chip and PTM-1060 antenna-array module along with the RWM6050, making the technology available for customer evaluation with the Renesas’ Evaluation Kit.
Many fast-growing use cases require reliable, fiber-like data rates that can't be cost-effectively served with wired technologies. To sustain the growing demand for gigabit-per-second home broadband access, and to effectively support smart-city deployments such as high-resolution CCTV cameras in public spaces, 60-GHz connectivity offers superior performance, shorter deployment time, and lower equipment cost.
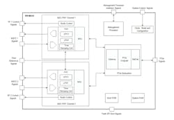
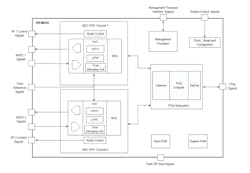
Renesas’ RWM6050 baseband modem chip makes it possible to realize the full potential of Fixed Wireless Access (FWA) deployments, 5G and Wi-Fi infrastructure backhauling, next-generation consumer electronics products including VR, and IoT devices requiring high-speed links, all while streamlining the design process and reducing the total system cost (see figure). For its part, Pharrowtech’s PTR-1060 radio chip lets telecom providers deploy 60-GHz connectivity in new use cases without performance drawbacks seen in some solutions.
The integrated PTR-1060 chipset supports six channels rather than just the lowest four, from 57 GHz through to 71 GHz, therefore offering significantly improved signal performance when compared to other products on the market. Further, with up to 64QAM modulation, the chip delivers higher data rates, enabling more margin and thus greater reliability.
The inclusion of Pharrowtech’s PTM-1060 radio module (RFM) allows for a tightly integrated and optimized 8 × 8 (2 × 2 cm, the diameter of a penny) patch antenna array, meaning it can readily be integrated into end products, taking much less surface area than competitive solutions with half the antenna paths.
The combination of Pharrowtech’s CMOS radio and Renesas’ CMOS baseband is claimed to offer the smallest physical footprint of any comparable chipset on the market, reducing board space required in the end application. This not only means that a sleeker product can be delivered, but that it will have a shorter time-to-market and lower cost than similar solutions.
About the Author
David Maliniak
Executive Editor, Microwaves & RF
I am Executive Editor of Microwaves & RF, an all-digital publication that broadly covers all aspects of wireless communications. More particularly, we're keeping a close eye on technologies in the consumer-oriented 5G, 6G, IoT, M2M, and V2X markets, in which much of the wireless market's growth will occur in this decade and beyond. I work with a great team of editors to provide engineers, developers, and technical managers with interesting and useful articles and videos on a regular basis. Check out our free newsletters to see the latest content.
You can send press releases for new products for possible coverage on the website. I am also interested in receiving contributed articles for publishing on our website. Use our contributor's packet, in which you'll find an article template and lots more useful information on how to properly prepare content for us, and send to me along with a signed release form.
About me:
In his long career in the B2B electronics-industry media, David Maliniak has held editorial roles as both generalist and specialist. As Components Editor and, later, as Editor in Chief of EE Product News, David gained breadth of experience in covering the industry at large. In serving as EDA/Test and Measurement Technology Editor at Electronic Design, he developed deep insight into those complex areas of technology. Most recently, David worked in technical marketing communications at Teledyne LeCroy, leaving to rejoin the EOEM B2B publishing world in January 2020. David earned a B.A. in journalism at New York University.

Leaders relevant to this article:


