Power Chip Simplifies Development of Wireless Charging Stations
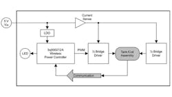
In an effort to simply the number of components in wireless charging stations, a second-generation, Wireless Power Consortium (WPC) 1.1-compliant power controller enables wireless charging systems to operate from the Universal Serial Bus (USB) port on a computer or other device. The bq500212A transmitter, developed by Texas Instruments, requires one-third fewer components than previous solutions.
The circuit also allows designers to develop Qi-compliant wireless charge pads or stations that can operate from a USB port or 5-V power adapter with a transmitter based on TI’s Dynamic Power Limit technology. The device's standby mode ensures <100 mW of standby power with no receiver on the pad and <50 mW once the receiver has finished charging.
The transmitter includes two CSD97376 Power Stage integrated circuits (ICs), while the hybrid capacitor scheme reduces the system’s bill of materials using a combination of X7R and COG capacitors instead of only relying on the latter. Mandated by the WPC 1.1 specification, the transmitter comes standard with foreign object detection, which features an improved algorithm with greater accuracy of error sensing.
About the Author
Iliza Sokol
Associate Digital Editor
Iliza joined the Penton Media group in 2013 after graduating from the Fashion Institute of Technology with a BS in Advertising and Marketing Communications. Prior to joining the staff, she worked at NYLON Magazine and a ghostwriting firm based in New York.
