Members can download this article in PDF format.
Consumer electronics and smart energy infrastructure are just some of the applications that require magnetic switches. Throughout the home and workplace, these switches can determine whether windows are open or closed, and by monitoring a deadbolt position, they’re able to relay whether a door is locked. They also determine whether a notebook lid or earbud charging case is open or closed, putting a closed laptop in a low-power state and initiating the charging of earbuds in a closed case.
For infrastructure, the switches can detect the swipe of a magnet that puts smart water and gas meters into diagnostic modes. Moreover, they will detect the presence of a magnet that may have been nefariously attached to the meter to disrupt its operation.
Sponsored Resources
- A new era of magnetic sensing is here
- Industry leading sensitivity at a lower cost
- Extend battery life with ultra-low power consumption
For optimal results, these switches often need to detect in-plane magnetic fields — that is, fields parallel to a printed-circuit board on which they’re mounted. On this front, Hall-effect devices are emerging as significant competitors in the market for in-plane switching.
AMR, TMR, Reed, or Hall?
Typically, anisotropic magnetoresistive (AMR), tunnel magnetoresistive (TMR), and reed-switch devices have served in in-plane magnetic-field measurement applications. However, AMR and TMR switches include complex stacks of metal layers and require specialized deposition equipment to fabricate, making them relatively expensive. Reed switches, often consisting of ferromagnetic contacts encapsulated in a hermetically sealed glass tube, are comparatively large and are subject to breakage.
In contrast, Hall-effect devices feature comparable sensitivity to AMR, TNR, and reed devices, offering a scalable, economical alternative.
Texas Instruments offers one such device with its TMAG5134 in-plane Hall-effect switch. The TMAG5134 has a typical magnetic operating-point threshold (BOP) as low as 1 mT — not as good at the TMR switch at about 0.3 mT, but it’s better than the reed switch at about 5 mT and the AMR switch at approximately 3 mT.
The TMAG5134 incorporates an integrated magnetic concentrator consisting of two metal plates that focus magnetic-field strength over the device’s sensing element to amplify the field. It also provides better sensitivity and lower power consumption than Hall devices without the concentrator.
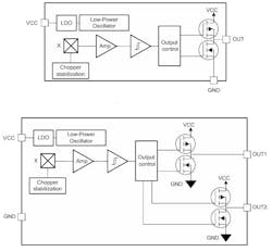
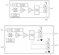
The switch is available in a three-pin version (in an SOT-23 package) with an omnipolar output and a four-pin version (in an X1LGA package) with two unipolar outputs. It operates with a variable duty cycle that lets you trade off response time and power consumption. In addition to the push-pull outputs shown in Figure 1, which eliminate the need for external pullup or pull-down resistors, the device also comes in active-high and active-low open-drain configurations.
Figure 2 shows the four-pin version in the presence of a magnetic field. When magnetic flux travels from the pin 1 and pin 3 side to the pin 1 and pin 4 side, as shown in the figure, the flux is considered positive.
Figure 3 illustrates the devices’ omnipolar (top) and dual unipolar (bottom) output responses in terms of the BOP, the magnetic field release point (BRP), and the hysteresis between them (BHYS). Versions are available with operating points of 1, 1.3, 1.5, and 2 mT.
Development Support
TI offers a variety of evaluation modules (EVMs) to support your design and development efforts. To speed up your breadboard prototyping, you can choose the HALL-ADAPTER-EVM (Fig. 4), a breakout adapter with coupon boards that work with a variety of TI Hall-effect devices, including the TMAG5134.
The coupon boards include component pads for power-supply bypass capacitors. The adapter comes with Samtec headers and an axial-cylinder magnet with a 3/16-in. diameter and 1-in. thickness, but you need to purchase the Hall-effect device separately.
In addition, TI offers the TMAG5134EVM module, which includes an omnipolar version of the TMAG5134 (Fig. 5). An LED connected to the device output pin provides a convenient indication of the device’s output state. The module also includes a power header and connection points for output and ground pins.
Moreover, a jumper connected in line with the power-supply input simplifies the connection of an external power supply. The jumper also facilitates the measurement of current, allowing you to evaluate tradeoffs between duty cycle and power consumption. Typically, the TMAG5134 draws only 0.5 µA at 1.25 Hz, with current draw increasing to 1.4 µA at 20 Hz.
The EVM comes with a handheld magnet and can operate as a standalone board without a microcontroller unit (MCU). If you do want to evaluate the interaction of the Hall device and a controller, you can connect the TMAG5134 EVM to a TI SCB sensor control board. The control board incorporates a TI 32-bit Arm Cortex-M4F MCU and can read the EVM’s digital output using a general-purpose I/O (GPIO) pin. The SCB can also provide power to the module. Figure 6 shows the EVM (left) connected to the SCB (right).
Conclusion
In-plane magnetic sensing is critical for the proper functioning of applications ranging from personal electronics to smart energy infrastructure. In-plane Hall-effect sensors offer a low-cost, scalable alternative to other technologies for magnetic-field sensing.
TI offers Hall-effect switches with a range of magnetic flux operating points to meet a variety of application requirements. It also offers breakout adapters and EVMs to help you get started on successful in-plane Hall-effect designs.
Sponsored Resources






