MEMS vs. Crystal Oscillators: It’s All in the Application
This article appeared in Electronic Design and has been published here with permission.
What you’ll learn:
- The evolution of precision clocks.
- The tradeoffs between MEMS vs. crystal oscillators.
- The manufacture and cost issues involved.
Almost every electronic device you can imagine depends on a precision clock. Without precision oscillator clocks, all electronic communication would stop. This article compares the benefits of the latest precision clock technologies as they perform in different applications.
Introduced in the 1920s, the quartz crystal oscillator has long been the workhorse amongst electronic timing devices. A newer type of oscillator, which has been in development since the 1960s and available in production volumes since 2005, is the microelectromechanical-system (MEMS) resonator clock.
Today, MEMS oscillators have somewhat replaced crystal oscillators in many high-volume, low-cost applications. Like many things in the technology world, however, tradeoffs and exceptions must be considered depending on the application that’s using the device.
Tradeoffs: MEMS vs. Crystal Oscillators
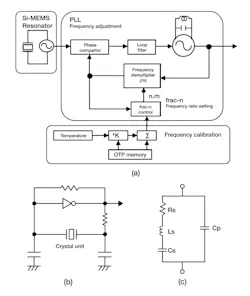
Figures 1a and 1b show block diagrams of a MEMS oscillator and a crystal oscillator circuit. The MEMS oscillator is more complicated. In addition to a micromechanical silicon resonator, its digital circuitry includes a phase-locked loop (PLL) to determine and control frequency.
In comparison, the crystal oscillator is very simple and depends heavily on the very high “Q” quartz crystal resonator as the sole frequency-determining element shown in Figure 1c.
Both MEMS and crystal oscillators can be made more precise by using temperature compensation to achieve less than 1-ppm stability or oven-control to achieve parts-per-billion (PPB) levels of stability. In common parlance, crystal oscillators utilizing these compensation methods are referred to as TCXOs and OCXOs, respectively. And while “XO” is specifically used for crystal oscillators, these terms are often used to refer to similarly compensated MEMS.
When it comes to absolute frequency stability over temperature, manufacturers are achieving great improvements in MEMS performance. SiTime, for example, is making MEMS that are almost arbitrarily precise by means of digital compensation techniques. It’s important to understand the performance tradeoffs between quartz crystal oscillators and MEMS oscillators.
Phase Noise and Jitter
MEMS can withstand higher shock levels and are less susceptible to vibration sensitivity than quartz clocks. Since quartz resonators have a relatively larger mass, they also may experience fractures under very high shock levels.
Figure 2 compares phase noise for MEMS and quartz crystal oscillators. While MEMS can be made extremely precise in terms of stability and continue to improve in phase-noise and jitter performance, they can never be as good as quartz for static phase noise, jitter, and some other short-term stability parameters.
A benefit inherent to quartz crystal oscillators is their much higher “Q” level, which results in lower phase noise and lower jitter. Thus, in applications where this is important, quartz still reigns supreme. Also, the improved phase noise and jitter performance for MEMS always comes at the cost of even more power consumption.
Quartz oscillators are more efficient and reliable than MEMS devices whose complex circuitry consumes more power and can result in slower startup times. Moreover, quartz clocks can survive higher doses of radiation since MEMS clocks contain a non-radiation tolerant PLL.
Temperature Stability
Figures 3 and 4 illustrate the reasons behind the most important tradeoffs between MEMS and quartz oscillators. Figure 3 shows the frequency vs. temperature performance of typical quartz oscillators compared to comparable MEMS devices. The first impression from this figure may be that MEMS oscillators actually demonstrate better frequency vs. temperature performance.
However, upon closer inspection, Figure 4 reveals that, over time, the MEMS oscillators have frequency jumps whenever the division ratio switches to compensate for temperature changes. The high “Q” quartz crystal gives an inherently stable and smooth curve.
The MEMS resonator can be digitally corrected to be almost any level of stability. However, that comes at the cost of increasing power consumption. Furthermore, it will always have micro frequency jumps over every short-term cycle that must be digitally corrected back to the desired level of stability.
The MEMS resonator curve isn’t smooth, as it has a large number of small frequency jumps due to the dithering induced by digital correction. If more power is used, the dithering can be reduced, but never eliminated. This is what causes the MEMS clock to have worse phase noise and jitter than quartz crystal oscillators.
Manufacture and Cost
MEMS clocks offer several advantages over crystal oscillators in cost, production volume, and lead time. Because quartz crystal oscillators are inherently “custom,” MEMS clocks are usually much cheaper and faster to produce.
Also, MEMS are manufactured in very high volumes using semiconductor manufacturing methods. Therefore, applications that don’t need the good phase noise and the low jitter benefits of quartz, can tolerate the higher power consumption, and won’t be exposed to any radiation, will often use the much less expensive MEMS.
Conclusion
Both technologies have their place in the future. On balance, MEMS oscillators already exhibit very good performance and represent an extremely valuable technological advance that will continue to be improved. They will dominate in high-volume low-cost clock applications, most notably in the automotive industry where low phase noise isn’t important.
For their part, quartz crystal oscillators will continue to dominate space applications (where using MEMS isn’t possible), as well as RF and microwave applications, radar, and other noise-sensitive circuits.
About the Author

Ron Stephens
Former President, Q-Tech Corporation
Ronald Stephens, a.k.a., The Crystal Oscillator Professor (XOProf.com), is the former president of Q-Tech Corporation. He holds degrees in Physics, Math, and Operations Research, and has 47 years of experience in the crystal-oscillator industry.
Ron is a former chairman of the EIA’s Piezoelectric Products Group and the Piezoelectric Conference and Exhibition. In 2017, the IEEE Frequency Control Symposium awarded Stephens the C.B. Sawyer Memorial Award “for decades of entrepreneurial leadership in the frequency control industry.”





